LOCVPS是专业经营VPS云服务器的主机商,提供了海外多个机房可以选择,价格非常的便宜,并且网络稳定。这里我们将测评下LOCVPS的澳大利亚VPS,看看网络效果怎么样。
LOCVPS的澳大利亚VPS机房位于悉尼,最低配置1核、1GB内存、30GB存储、5Mbps带宽、400GB流量,价格是37元/月,支持Linux和Windows操作系统。需要注意的是Windows需要4GB以上套餐才支持。下面我们就具体测评下LOCVPS的这款澳大利亚VPS网络状况。
先看看本地Ping平均延迟效果,如下所示:
可以看到我本地Ping平均延迟在269ms左右,网络还是非常稳定的,基本都没有丢包的情况。
下面我们看看全国三网Ping平均延迟效果,如果所示:
全国三网Ping平均延迟在181ms左右,其中电信网络延迟在230ms左右,联通网络延迟在151ms左右,移动网络延迟在161ms左右。
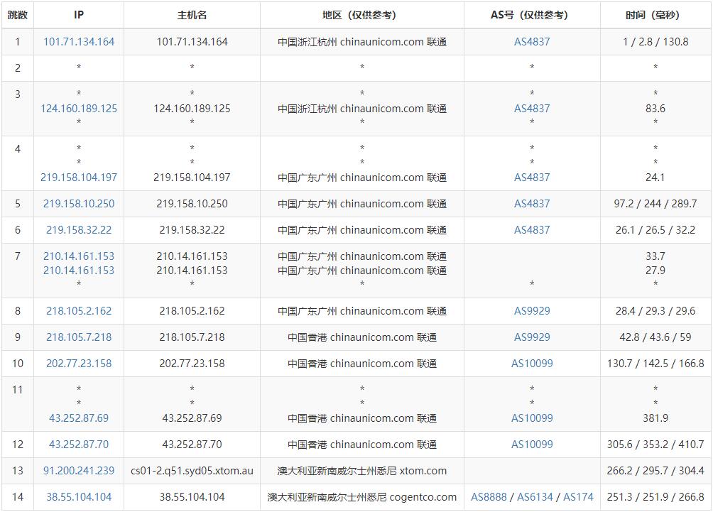
下面我们看看全球各地网络稳定性情况,如下所示:
从上面测试情况可以看到,不管是国内节点还是海外节点网络都是非常稳定的,基本都没有丢包的情况。
下面我们看看全国三网去程路由线路情况。
电信去程路由:
电信去程路由是从上海网口出去,经过圣何塞、洛杉矶节点后到达悉尼机房。
联通去程路由:
联通去程路由是从广州网口出去,经过香港节点后到达悉尼机房。
移动去程路由:
移动去程路由是从上海网口出去,经过香港节点后到达悉尼机房。
最后我们看看这款澳大利亚VPS的价格套餐,如下所示:
可以看到我本地下载速度在35Mbps左右,上传速度在21Mbps左右,这个速度对于澳大利亚VPS来说还是相当不错的。
下面我们看看LOCVPS的这款澳大利亚VPS的价格套餐,如下所示:
| 参数项 | 套餐1 | 套餐2 | 套餐3 | 套餐4 |
|---|---|---|---|---|
| 内存 | 1GB | 2GB | 4GB | 6GB |
| CPU核数 | 1 | 1 | 2 | 3 |
| 存储空间 | 30G | 40G | 60G | 80G |
| 带宽 | 100Mbps | 100Mbps | 100Mbps | 100Mbps |
| 流量 | 400GB | 600GB | 1T | 2T |
| 操作系统 | Linux | Linux | Linux / Windows | Linux / Windows |
| 价格 | 37元/月 | 45元/月 | 65元/月 | 160元/月 |
| 购买链接 | 立即购买 | 立即购买 | 立即购买 | 立即购买 |
从价格套餐来看,这款澳大利亚VPS还是相当便宜的,能够使用支付宝付款,购买还是非常方便的。
需要购买的用户通过LOCVPS官网链接进入首页后,选择“KVM Virtual Server”菜单下的“澳大利亚 KVM”链接,如下所示:
跳转到澳大利亚产品页面后,选择适合自己的套餐就可以了。
以上就是关于LOCVPS的澳大利亚VPS测评介绍。从网络方面来说LOCVPS的澳大利亚VPS还是非常稳定的,并且价格非常的便宜,支持Linux和Windows操作系统,有需要的用户可以参考选购。



















