最近站长事情有点多一直没空写评测文章,趁着马上周末为大家更新一下搬瓦工的The DC6 Plan美国vps评测
站长买的是这款
- Basic VPS – Self-managed – The DC6 Plan (提示:不能切换机房)
- 内存:1G
- CPU:1核
- 硬盘:20G SSD
- 流量:1T/月
- 带宽:2.5Gbps
首先我们用站长工具看下三网延迟

可见国内三网延迟还是不错得,平均延迟148ms还是挺优秀的,常规美国延迟都在180ms以上了
接下来我们用ping.ooo测试下网站得持续打开状况

在持续ping的情况下可见非常适合或内使用,国外的话也还可以,波动不大
接下来我们检测一下媒体解锁情况脚本由IPQuality提供

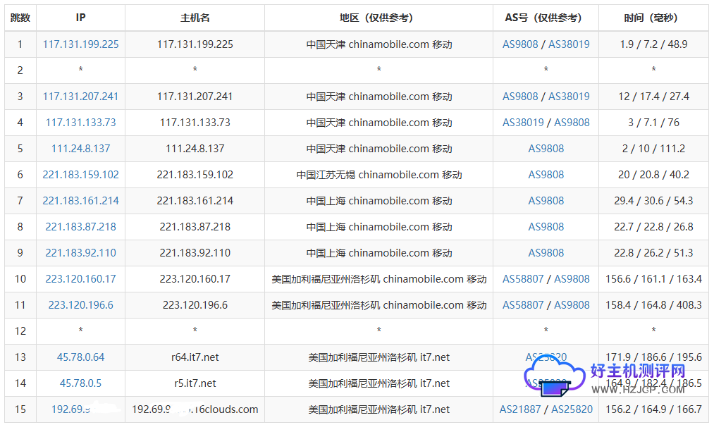
接下来是去程线路天津移动去城线路

接下来是去程线路北京电信去程线路

接下来是郑州联通去程线路

接下来是回程线路



接下来是CPU大致情况以及IO读取速度

接下来到大家最关心的情况,宽带测速

小总结一下
关于网络总结下:电信和联通走的是双程CN2 GIA,移动去程走自己的CMI接HE,移动回程走的电信CN2 GIA。这基本上也就是传说中的三网强制CN2 GIA线路吧。算是中美之间最高端的走法之一了。
搬瓦工官网


















