LisaHost,中文译名:丽萨主机,成立于2017年的商家,总部位于香港新界,主要从事CDN和域名注册产品,以及服务器租用和VPS售卖业务。其VPS产品基于KVM虚拟架构,数据中心为美国洛杉矶,采用CN2 GIA线路,三网回程走CN2,分配50Mbps峰值带宽,可升级到100Mbps,无论是配置、带宽、及防御相对来说是比较适合稳定建站用途的。lisahost丽萨主机全中文界面,支持支付宝付款,所有机器48小时不满意无条件退款。本文简单测试下LisaHost美国洛杉矶9929线路原生IP VPS。

洛杉矶9929线路原生IP VPS测试IP:154.44.0.221
我们测试洛杉矶9929线路原生IP VPS本地的Ping速度测试,如下图:

这里我们可以看到洛杉矶9929线路原生IP VPS主机本地的PING延迟在150ms左右,速度可以。
这里,我们全球节点延迟速度测试,如下图:

从全球节点看PING速度,国内的速度还行。
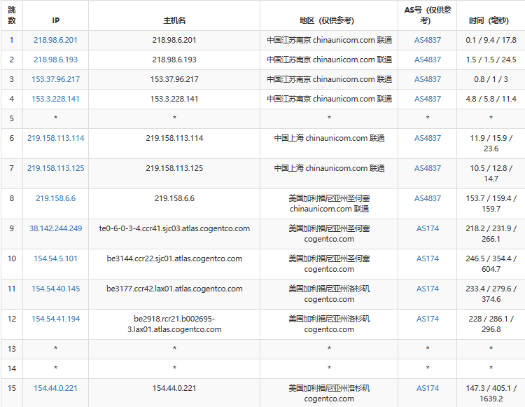
这里再看国内三网节点的去程:
电信去程:

联通去程:

移动去程:

这里我们可以看到三网线路,都是直连的。











