Faconhost是去年在英国成立的新商家,提供的产品非常有吸引力,包含大带宽的荷兰cn2 gia vps、洛杉矶联通as9929高端线路vps,香港大带宽直连线路vps、以及亚洲地区的新加坡大带宽cn2 vps等等。今天VPSTOP站长入手了一台商家的小鸡,美国洛杉矶联通as9929线路vps,给大家汇报一下这款小鸡的情况吧。

Faconhost是2023年10月成立的新商家,注册在英国的云服务提供商,公司代码:15219737 。RIPE会员单位(拥有自己的ASN/AS216001),商家称正在申请ARIN会员以便扩展网络。目前主机主要提供基于KVM架构的VPS主机,数据中心包括中国香港、美国洛杉矶和荷兰机房。商家采用英镑结算,支持:Visa、Mastercard、银联、Google pay、Apple pay、支付宝、PayPal等付款方式。
官方网站:https://faconhost.com/
站长买的是起步套餐,1核1G内存、15G硬盘,500GB流量@300Mbps带宽,价格为£17.5/年,包含一个IPv4和一个IPv6。已经搭建好速度演示站http://154.26.238.98/
商家的vps面板如下,VPSTOP.CN站长曾经见过其他商家也是差不多的功能界面和布局,但不知道这个面板的名称,有懂行的朋友欢迎评论区指点一二。如下图所示,再面板内设置vps的标签、主机名、选择需要安装的系统和设置系统时区:

安装好系统后,就能看到VPS的一些基本信息,内存流量使用率、VPS的IP、硬件配置和机房物理位置,并有关机,重启,关闭电源,重装系统等快捷操作按钮:

安装操作系统过程是可视化的:

从下图可以看到母鸡采用的是32核64线程的AMD EPYC 7502 (霄龙) 的CPU,小鸡上游机房应该是美籍华人的酷润机房,磁盘IO非常不错:

FIO测试,磁盘读写性能相当好:

UnixBench跑分,以1核1G的配置能跑到1641.7分,这还是VPSTOP测评过的小鸡中的第一次,一般1C1G都只能跑1000以下的分数:

宝塔跑分,分数也是相当喜人:

上下行速度测试,情况如下:

换一个脚本继续测试上下行速度:

本地下载,这也是站长用过的国外VPS中速度比较快的,站长是四川电信无线上网:

本地ping,网络延迟也很不错,并且没有见到丢包情况:

超级ping,测试全国各地延迟,都是非常好的:


用ping.pe专门测试了一下丢包率,全部零丢包:

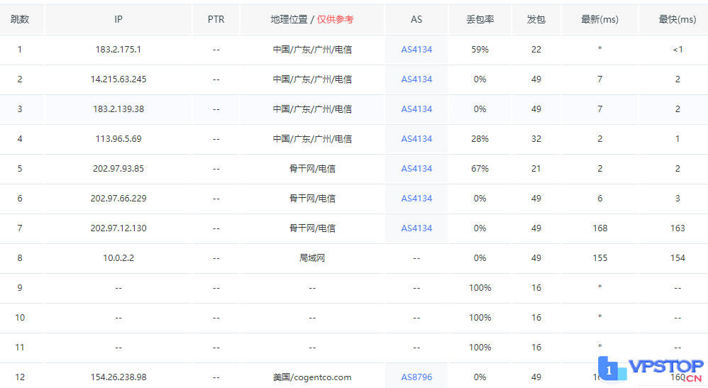
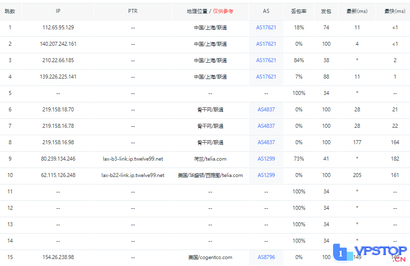
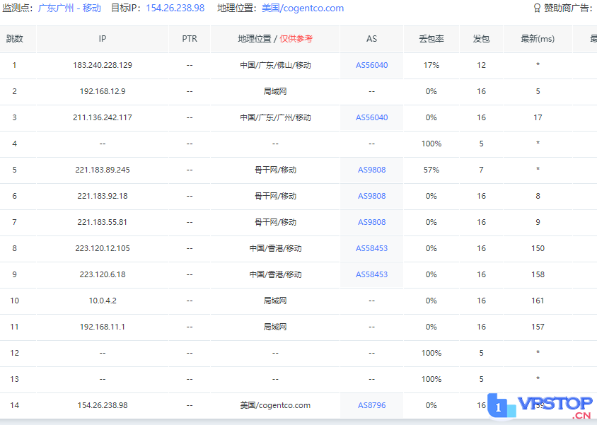
三网回程,基本上都是走联通9929高端线路,但有一个节点是显示走联通4837,推测全国各地区大部分应该还是9929,少数地区可能目前走4837,这个还需要给商家反馈一下调整一下路由:

回程路由
电信回程

北京电信回程

广东电信回程

广州电信回程

贵阳电信回程

杭州电信回程

上海电信回程
联通回程

成都联通回程

贵阳联通回程

宁波联通回程

上海联通回程

深圳联通回程
移动回程

北京移动回程

广州移动回程

贵阳移动回程

杭州移动回程

上海移动回程
教育网回程

去程路由

电信去程

联通去程

移动去程
流媒体解锁测试
可以解锁NetFlix以及美国主流平台:

NetFlix解锁测试


测评总结
- 硬件强悍,磁盘读写速度很快;
- 网络延迟低、速度快,无丢包;
- 可解锁奈非等主流平台;
- 由于电信cn2资源稀缺价格昂贵,更显得这款联通as9929的VPS性价比很高,并且配备大带宽 ,能满足多种不同需求。


















