Jtti简介
全球IPV4地址资源逐渐枯竭,随之而来的IPV4价格也在暴涨,比起单独购置多个IP,站群服务器无疑是一个性价比更高的解决方案。Jtti.cc提供多IP站群服务器,可选1C/2C/4C多个C段IP,价格$218.6/月起,购买终身优惠,续费同价不涨价,套餐内最高拥有253个可用IPV4地址,适合seo、店群运营,多账号运营用户首选。
特点:
- 服务器配置Intel Xeon E5系列CPU,轻松处理高并发/高负载场景!
- SSD固态硬盘,闪电读写速度,数据存取快到飞起!
- 中国电信CN2 GIA精品带宽,访问低延迟,业务不掉线!
- 支持设备定制,IP段定制,7*24h技术支持!
Jtti官网
立即直达:jtti.cc官网

Jtti美国站群服务器促销套餐:
CPU:Xeon E5-2650
内存:16G DDR3
硬盘:500G SSD
带宽:50Mbps CN2 GIA
流量:无限制
DDoS:20G
系统:Windows & linux
IP段:1C/253【可选2C/250、4C/244】
价格:$218.6/月起
Jtti美国站群服务器详细测评:
本次测评针对美国洛杉矶站群服务器进行了全面测试,涵盖硬件性能、网络质量以及区域解锁能力等多个方面。
机器测评基础信息:
该服务器采用Intel Xeon E5-2660 v2处理器,拥有10个物理核心和20个线程,基础频率2.2 GHz,最高可加速至3.0 GHz,并配备大容量缓存,能够高效处理多线程任务。

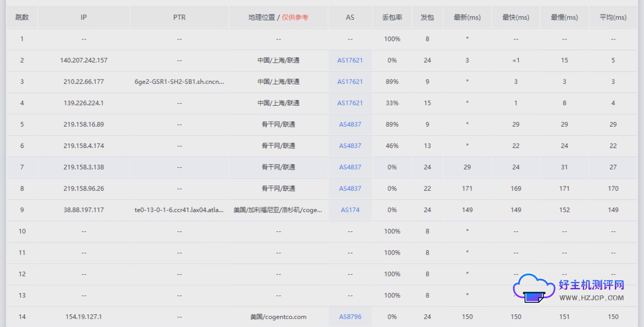
电信/联通/移动三网路由测试:
我们对不同运营商的去程和回程路由进行了详细测试,以评估其在中国大陆的访问质量。
电信/联通/移动三网去程:



电信去程走59.43节点采用CN2优化线路,全程延迟稳定在157 ms左右,丢包率极低,适合对网络稳定性要求较高的业务。 联通去程骨干网AS4837,移动去程骨干网AS9809,整体路由较为稳定。
电信/联通/移动三网回程:



电信回程走59.43节点是CN2线路,联通回程骨干网使用AS4837(CU169-BACKBONE),移动回程骨干网为AS9808(CMNET),整体路由表现不错。
流媒体解锁测试:

该服务器在流媒体解锁方面表现出色,支持多个地区的热门平台,满足影视、游戏等需求。
总结:Jtti美国站群服务器在硬件性能、网络优化和区域解锁方面表现优秀,尤其适合需要中美低延迟连接的用户,整体性价比很高,是做站群、外贸、流媒体和游戏加速的理想选择。如有需求,可自行下单购买,支持支付宝、PayPal、VISA等多种付款方式。

















